Где взять девайс чтоб автозапуск на ПЛМ замастырить ?

Неопытный умник

Почетный Форумчанин
Регистрация
07.01.13
Сообщения
7.017
Реакции
3.758
Баллы
308
Город
Хабаровск
И какое сечение проводов минимально достаточно
В цифрах не готов сказать. Силовые + и - на стартер грубо раза в два тоньше автомобильных. А на реле... хз, тонкие, но не волоски телефонные.
 

Serega_habar

Местный
Регистрация
05.03.14
Сообщения
291
Реакции
98
Баллы
208
Город
Хабаровск
Минус с аккумы на землю и будет работать!
 

Rock

Новичок
Регистрация
15.11.10
Сообщения
211
Реакции
48
Баллы
8
Город
Хабаровск
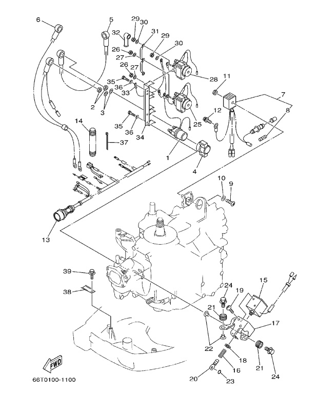
Если мотор Yamaha 40XWS (электро+ручной стартер) то под капотом должно быть все согласно схемы. 1 - реле стартера 7 - выпрямитель.
 

Вложения

  • Сохраненное изображение 2015-4-22_11-7-5.261.jpg
    Сохраненное изображение 2015-4-22_11-7-5.261.jpg
    117,8 КБ · Просмотры: 707

Multik

Почетный Форумчанин
Регистрация
16.11.10
Сообщения
5.547
Реакции
3.255
Баллы
308
Если мотор Yamaha 40XWS (электро+ручной стартер) то под капотом должно быть все согласно схемы. 1 - реле стартера 7 - выпрямитель.
На выходных буду мастырить, сфотаю чо там под капотом есть
 

Multik

Почетный Форумчанин
Регистрация
16.11.10
Сообщения
5.547
Реакции
3.255
Баллы
308
Кто знает какой шаг резьбы у этих болтов ?

Болты11.jpg
 

Неопытный умник

Почетный Форумчанин
Регистрация
07.01.13
Сообщения
7.017
Реакции
3.758
Баллы
308
Город
Хабаровск
Леха, если б их увидеть вживую... наверно, скажу на глаз... А на кой?
 

Неопытный умник

Почетный Форумчанин
Регистрация
07.01.13
Сообщения
7.017
Реакции
3.758
Баллы
308
Город
Хабаровск
Леха, у меня есть такое подозрение, что ты не те болты ищешь. Эти болты не похожи на болты крепления стартера, хотя глядя на схему я могу ошибаться. Или у тебя на нем чего-то не хватает?
 

Multik

Почетный Форумчанин
Регистрация
16.11.10
Сообщения
5.547
Реакции
3.255
Баллы
308
Установил стартер, заводится чотко ! Кпопка как Димон по сцылке давал на Сузуки центр, встала на Y40XW как родная в технологическое отверстие рядом с кик стартером

Решил на вторую 40ку тож поставить стартер :)
 

Ден

Почетный Форумчанин
Регистрация
03.03.11
Сообщения
618
Реакции
107
Баллы
308
И праильна, век кибернетики как ни как, на унитазах дергалки так уже давно упразднили, пора и до ПЛМ добраться:)
 

Multik

Почетный Форумчанин
Регистрация
16.11.10
Сообщения
5.547
Реакции
3.255
Баллы
308
Ну чо, апетит пришол во время еды. Вздумал поставить регулятор напряжения дабы питать акуму
Вот схему набросал. Правильна ?
стартер222.jpg
 

Дмитрий-27

Почетный Форумчанин
Регистрация
14.01.11
Сообщения
5.940
Реакции
4.401
Баллы
308
Город
Хабаровск

Multik

Почетный Форумчанин
Регистрация
16.11.10
Сообщения
5.547
Реакции
3.255
Баллы
308
Продолжаем увлекательную дискуссию по поводу установки зарядки акумы на ПЛМ Y40XW

Значить вкрыл колпак и узрел там 3 провода, с генераторной катушки (я так понял)
y40.jpg


Как видим проводов 3 : 2 зеленых и один чОрный.


врнл-1.jpg

Содержит 2 провода (жолтые провода преобразователя сращиваем с зелеными с катушки), и 2 провода (черный и красный - это на акуму), а куда садить чОрный провод, который с катушки идет ? Или его не надо подключать ?
 

Multik

Почетный Форумчанин
Регистрация
16.11.10
Сообщения
5.547
Реакции
3.255
Баллы
308
Ксати фото того как идиально встала кнопка, которую Дмитрий 27 посоветовал, за что ему риспект и уважуха

кнопка.jpg
 

Alex 682350

Почетный Форумчанин
Регистрация
16.01.13
Сообщения
1.157
Реакции
623
Баллы
308
Город
Нанайск
Кажись он для тахометра.
 

Дмитрий-27

Почетный Форумчанин
Регистрация
14.01.11
Сообщения
5.940
Реакции
4.401
Баллы
308
Город
Хабаровск
куда садить чОрный провод, который с катушки идет
Лёха, учитывая, что он чёрный и с клеммой под болт - на массу.(вечером гляну, если надо).

Кажись он для тахометра.
При работающем моторе с него должна поступать переменка.
Не-не. На тах сигнал идёт с любого зелёного провода, до выпрямителя.
 

Пользователи, просматривающие эту тему

Сейчас на форуме нет ни одного пользователя.
Верх