Стеллаж в гараж

Саня_КМS

Почетный Форумчанин
Регистрация
04.05.12
Сообщения
556
Реакции
3.704
Баллы
308
Город
Хабаровск
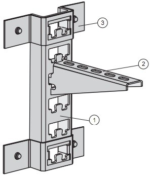
У меня в подвале сделано надежно и просто и по цене не дорого, использовал электромонтажные стойки. полки и лотки:
стойки №1 бывают от 40 см до 2,4 метров;
полки №2 бывают от 20 см до 45 см (может есть и больше);
лоток (бывает перфорированный, не перфорированный, усиленный) размеры разные, у меня 400х80х2500;
какие плюсы:
- легко монтировать (делал в одного);
- всегда можно отрегулировать расположение полок;
- выдерживаю большие нагрузки;
- не ржавеют (если брать оцинкованные);
- в хабаровске свободно продаются.
4_KOKS_lotki_metalich_perforir_ru.jpg
image_216(1000,1000).jpeg
 

Zmeuga

Новичок
Регистрация
05.01.12
Сообщения
96
Реакции
10
Баллы
8
Брал такие стеллажи, к стене крепятся
 

Максим75

Почетный Форумчанин
Регистрация
13.03.14
Сообщения
1.484
Реакции
4.040
Баллы
308
Город
Хабаровск
Камрады! Подскажите где взять прибамбасы для настенных стеллажей?
Вот именно чтоб на стену прихерачить направляющие с перфорацией под кронштейны а на них полки, ну и сами кронштейны конечно нужны, можно б/у. В "Гардеробове" смотрел-там хлипкие больно.
Вот такие вопщем:

Посмотреть вложение 195842 Посмотреть вложение 195843
Блин,Дима позвони,есть простое решение,для тебя бесплатно))
 

Iskander

Почетный Форумчанин
Регистрация
26.11.10
Сообщения
2.512
Реакции
2.779
Баллы
308
Город
Хабаровск
:E012: если металл не принципиально, то я бы с брусков 50 на 50 сделал стойки, а из доски дюймовки полки.
В принципе у меня в обоих гаражах так и сделано.Три яруса полок. На самой верхней, только со стремянкой залазить, груза килограмм триста лежит. На нижней железяк всяких вообще полтонны.
Поддерживаю!
Быстро строится, недорого, барахляндия хорошая выходит.
На стену в 6 метров брал 4-хметровые бруски.
На полки - мебельные ДСП с ближайшей свалки
IMG_20170206_081431.jpg
 

Iskander

Почетный Форумчанин
Регистрация
26.11.10
Сообщения
2.512
Реакции
2.779
Баллы
308
Город
Хабаровск
Из чего сетка на спинке и поджопнике и как прикреплена?
 

ТЕНЧА

Модератор
Команда форума
Регистрация
18.12.11
Сообщения
10.297
Реакции
18.144
Баллы
308
Город
Богородское

Leonidasdv

Почетный Форумчанин
Регистрация
02.04.12
Сообщения
5.344
Реакции
2.806
Баллы
308
Город
Хабаровск

Андрей169

Уважаемый порталовед
Регистрация
06.06.13
Сообщения
6.706
Реакции
5.519
Баллы
308
Город
Хабаровск
Дима, чем фсе закончилась?
 

Андрей169

Уважаемый порталовед
Регистрация
06.06.13
Сообщения
6.706
Реакции
5.519
Баллы
308
Город
Хабаровск
Только тряпками ссаными не кидаться. В гараже полки сделаны из фанеры. С дуру покрыл типа морилки. Со временем стала садиться пыль и ее проблемно теперь вытирать. Вопрос- чем можно сверху покрыть поверх этой морилки и по цене гуманно было
 

Воффка Бирский

Почетный Форумчанин
Регистрация
28.11.24
Сообщения
3.209
Реакции
1.634
Баллы
308
Город
Хабаровск
Нужно было взять гардеробные системы и закрыть три стены. Каждая полка до 120 кг выдерживает ))))
 

Саш

Форумчанин
Регистрация
26.12.10
Сообщения
13.329
Реакции
13.583
Баллы
308
Город
Хабар
Только тряпками ссаными не кидаться. В гараже полки сделаны из фанеры. С дуру покрыл типа морилки. Со временем стала садиться пыль и ее проблемно теперь вытирать. Вопрос- чем можно сверху покрыть поверх этой морилки и по цене гуманно было
Эмаль ПФ-115
 

Александр (vapren)

Почетный Форумчанин
Регистрация
01.08.11
Сообщения
4.901
Реакции
3.142
Баллы
308
Город
Николаевка
лак быстросохнущий не пойдет?
 

olegg

Почетный Форумчанин
Регистрация
11.05.12
Сообщения
23.552
Реакции
20.888
Баллы
308
Город
Хабаровск
Только тряпками ссаными не кидаться. В гараже полки сделаны из фанеры. С дуру покрыл типа морилки. Со временем стала садиться пыль и ее проблемно теперь вытирать. Вопрос- чем можно сверху покрыть поверх этой морилки и по цене гуманно было
Линолеумом застели. Самым дешманским.
 

Пользователи, просматривающие эту тему

Сейчас на форуме нет ни одного пользователя.
Верх